Inhalt
Welttag des geistigen Eigentums 2026

Der Sport und die Schutzrechte: Startblock für Innovationen
Modernste Ausrüstung, Messgeräte, Trainingsmethoden, Übertragungstechnik und vieles mehr: Im Sport spielt geistiges Eigentum eine entscheidende Rolle. Intellectual property (IP) ist essentiell für den Schutz und die Förderung von Erfindungen, Designs und Marken, die die Welt des Sports prägen, Sportler inspirieren und Fans begeistern.
Daher steht der Sport 2026 im Mittelpunkt des
Welttags des geistigen Eigentums, den die Weltorganisation für geistiges Eigentum (
WIPO) jährlich veranstaltet. Auch das DPMA und die deutschen Patentinformationszentren feiern mit. „IP-Schutzrechte haben die Entwicklung des Sports zu der globalen 350-Milliarden-Dollar-Branche ermöglicht, die wir heute kennen“, so WIPO-Generaldirektor Daren Tang. Seine
Videobotschaft zum World IP Day 2026 finden Sie auf der
WIPO-Internetseite.
Die Sportbranche ist heute ein wichtiger Wirtschaftsfaktor. Insbesondere die Ausrichtung großer Sportveranstaltungen wie Olympischer Spiele oder Weltmeisterschaften kann erhebliche wirtschaftliche Auswirkungen auf die Gastgeberländer haben. In München beispielsweise freut man sich noch heute über die infrastrukturellen Verbesserungen, schönen Spielstätten und wegweisende Ikonographie, die Olympia 1972 mit sich brachte. Hier wird besonders deutlich, dass Sport ein wichtiger Motor für nachhaltige Entwicklung sein kann. Aber der Sport leistet auch Wichtiges in den Bereichen Gesundheit, Bildung und soziale Inklusion. Er fördert Toleranz, Respekt und die Gleichberechtigung von Frauen. Sport ist eine universelle Leidenschaft, die Menschen aus aller Welt zusammenbringt.
(Para-)Sport ist IP in Aktion

DE060021569T2
Schutzrechte haben bei der Entwicklung des Sports schon immer eine wichtige Rolle gespielt. In jeder Sportart arbeiten kreative Köpfe hinter den Kulissen daran, die Grenzen der sportlichen Leistung zu erweitern, das Zuschauererlebnis zu verbessern oder Veranstaltungen in jedes Haus zu übertragen.
Sport ist praktisch „IP in action“: Patente fördern technologische Fortschritte, die zu besserer Sportausrüstung führen. Marken und Designs tragen zur unverwechselbaren Identität von Veranstaltungen, Teams und Ausrüstung bei. Verwertungs- und Übertragungsrechte generieren gewaltige Umsätze. IP-Rechte sind die Grundlage für Lizenz- und Merchandising-Vereinbarungen, die die Entwicklung der Sportindustrie vorantreiben. Stärkere und leistungsfähigere Sportgeräte aus Hightech-Materialien ermöglichen es Sportlerinnen und Sportlern auf der ganzen Welt, neue Leistungshöhen zu erreichen und gleichzeitig das Verletzungsrisiko zu minimieren.
Technische Innovation spielt eine besonders große Rolle im Para-Sport. Menschen, deren Körper durch Unfälle, Krankheiten oder Fehlentwicklungen beeinträchtigt sind, helfen technische Erfindungen wie Prothesen, Rollstühle oder Signalgeber dabei, Leistungssport auf Spitzenniveau zu betreiben. Noch vor wenigen Jahrzehnten trugen Paralympioniken bei Wettkämpfen ihre Alltagsprothesen. Erst seit den 1980er Jahren gibt es spezielle Sportprothesen, deren Entwicklung seither stetig vorangetrieben wird.
Technische Innovationen sind besonders im Para-Sport segensreich
Das Internationale Paralympische Komitee (IPC) hat klare Regeln für Hilfsgeräte festgelegt, die die individuelle Behinderung der Athleten berücksichtigen. Beispielsweise wird die zulässige Länge von Prothesen anhand einer komplexen Formel bestimmt, die etwa die Körpergröße des Trägers und die Länge des Oberschenkels einbezieht.
Auf ihrer Internetseite stellt die WIPO zum Welttag des geistigen Eigentums ein
Beispiel für einen hochspezialisierten Hersteller von Prothesen vor: das deutsche Unternehmen
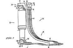
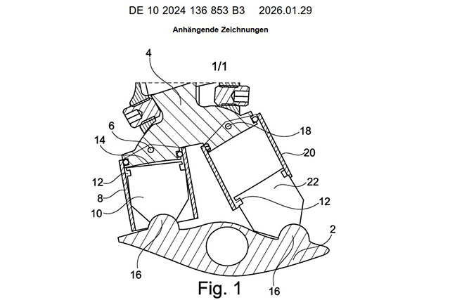
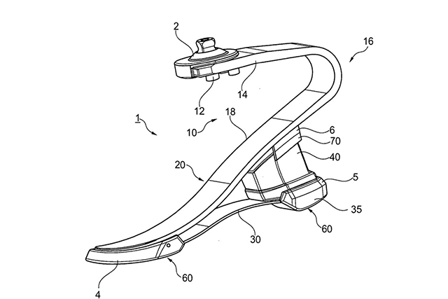
Ottobock. Es begann vor über 100 Jahren als Hersteller von Holzprothesen für die Versehrten des Ersten Weltkriegs. Heute stellt es vor allem High-tech-Sportprothesen, Rollstühle, Exo-Gelenke, Trainingsgeräte oder Orthesen her und unterstützt paralympische Athleten mit fortschrittlichen Hilfsmitteln, etwa durch KI-gestützte Prothesen wie die „bebionic“-Hand. Rund 1900 Patente hat Ottobock im Lauf der Jahre angemeldet.
Hier einige aktuelle Beispiele:
Prothesen & Co
Patentanmeldungen von Ottobock
Bilder: WIPO, DEPATISnet
Stand: 21.04.2026

Wir schützen nicht nur Innovationen.
Soziale Medien